文檔資料說明
發布時間:2026-01-09 點擊率:132
一、文檔資料
1、文檔類型維護
常用文檔資料的類型,比如投標資料、中標通知書、開工資料等,如下圖
2、文檔目錄維護
常見文檔資料的目錄需要提前維護好,以便后期資料上傳時選擇。如下圖
常用的操作有添加、編輯、刪除、上移、下移、授權和修復目錄路徑。
授權:用于授權當前目錄的權限,權限分為查看和修改,可以設置為公共目錄(查看權限),也可設置為公共目錄(修改權限)。如下圖所示,
點擊添加,可以根據用戶和部門,給予用戶和部門相應的查看和修改權限。如下圖
3、單據附件歸檔目錄定義
用于業務單據中附件進行歸檔的目錄。如下圖
此情況是在單據中直接選擇歸檔目錄,在單子保存后,自動歸檔到對應目錄中。如下圖
4、單據附件歸檔
可對單一業務單據附件進行批量歸檔,如下圖
5、文檔存放位置維護
用于實體文檔存儲位置的維護。如下圖
6、文檔資料
用于上傳公司或項目非單據類文檔資料。
左側選擇目錄,點擊添加,輸入文檔名稱,選擇文檔類型,若是電子檔,勾選電子文檔,文件名稱處選擇文件上傳,輸入版本號等,如果是實體文檔,無需上傳文件,但需選擇存放位置,如下圖所示
文檔日期中,還可以輸入,當前文檔文號,來文方和接收方等。
保存后,可以點擊發起按鈕,發起審批流程。
更新:對上傳文檔資料的內容進行更新,版本要相應變化,如從1到2.
借閱:只有實體文檔可以借閱,電子文檔不可借閱。
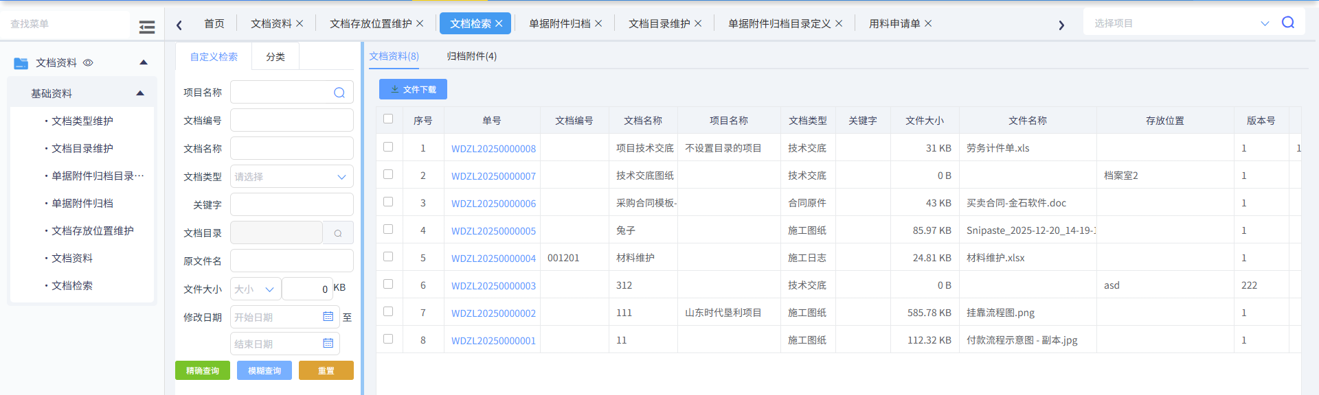
7、文檔檢索
文檔檢索,用于查詢、查看和下載文檔資料上傳和單據附件歸檔后的資料文件,
自定義檢索,可根據項目名稱、文檔類型等快速查詢目標文檔,如下圖所示
分類檢索,按照分類,快速找到對應目錄或業務單據的文檔資料。如下圖


